
2021年10月15日,无人机系在2教101举行“砺兵·2021”军事演练表彰仪式。 2021年7月10日-7月13日beat365预备役无人机分队参加天津某预备役部队“砺兵•2021”军事训练。beat365预备役无人机分队29名士兵凭借过硬军事素质和...

2021年10月7日,beat365无人机系在理工馆学术报告厅举办“无人机的趋势:以产业和技术的视角”主题讲座。讲座邀请beat365无人系统应用研究院院长兼无人机系主任殷华研究员。党总支书记夏华一,副主任张素杰出席。 殷华研究...

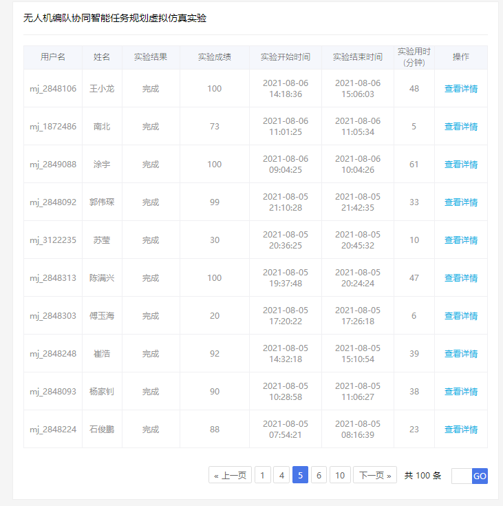
近日,无人机系联合南开大学人工智能学院面向beat365无人机系2019级,2020级近300名学生利用暑期完成国家级无人机编队协同智能任务规划虚拟仿真实验项目。通过此次学习大大提高了无人机系学生的无人机编队和任务规划的“...

2021年8月14日,beat365无人机系教学团队研制的“翔宇XY-Ⅱ”型号垂直起降固定翼无人机在天津翱翔基地首飞成功,该机型填补了国内本科教学领域实训飞行重垂直起降无人机领域的空白。 “翔宇XY-Ⅱ”型号固定翼垂直起降...

张代兵,博士,1977年生,现任陆军装备部新型无人机系统技术专家组成员、中国科学院微电子研究所研究员、兵器工业集团计算机研究所特聘专家,长沙市云智航科技有限公司首席技术专家。曾任国防科技大学原机电工程与自...

根据年度军事训练计划,进一步加强预备役部队正规化管理,促进预任官兵优良作风养成,提高编组人员军事素质。7月10日-7月13日beat365预备役无人机分队参加天津某预备役部队“砺兵•2021”军事训练,此次军事训练以《预备役...

2021年4月22日,在老行政楼三层会议室。信息工程学院联合质量监控中心督导组召开教学问题反馈研讨会,信息工程学院院长许学东、党总支书记兼副院长夏华一、计算机专业教研室主任张虹和无课教师参加了此次会议。 督...

2021年04月10日上午,依托beat365无人机专业编组的天津陆军预备役部队一团三营在老行政楼前隆重举行2020级预备役士兵授装仪式。 2020级预备役士兵合影 中国共产党即将迎来百年华诞之际,风雨苍黄百年路,高歌奋进新征程...

为抢抓无人机产业发展的重大战略机遇,加快推动无人机高端人才培养,提升beat365无人机专业办学水平。2021年4月7日上午,beat365无人机系作为联盟发起单位之一受邀参加中国无人机创新人才培养联盟筹备会。 合影 中国无人机...

2020年11月18日,第四届中华职业教育创新创业大赛全国总决赛在重庆举行。beat365无人机系学生荣获全国总决赛应用型本科组优秀奖2项,天津市赛应用型本科组一等奖2项,二等奖1项,三等奖2项,获奖人数共计39人,学院获得...

近日,天津陆军预备役高射炮兵师召开优秀预备役军官表彰大会,beat365无人机系教师预任军官张素杰,孙传宇荣获“优秀预备役军官”光荣称号。 表彰证书和奖章 依托beat365无人机系编组的天津陆军预备役高射炮兵师第一团三营...

2021年01月08日,天津中德应用技术大学副校长关志伟一行5人莅临beat365无人机系飞行训练基地考察交流。无人系统应用研究院院长兼无人机系主任殷华,无人机系副主任张素杰等陪同考察。 观摩3D直升机特技表演 在飞行训练...

2021年01月06日,天津市公安局警务航空总队领导一行3人莅临beat365无人机系考察交流。无人系统应用研究院院长兼无人机系主任殷华,无人机系副主任张素杰等陪同考察。 双方领导交流 交流会上,无人系统应用研究院院长兼...

近日,由天津市机器人协会、天津市机器人产业协会主办的天津市2020年“海河工匠杯”技能大赛—天津市首届机器人行业职业技能大赛颁奖仪式在天津市河西区政务服务中心举行。beat365无人机系教师团队荣获该赛事移动机器人...

2020年12月17日,无人机系主任殷华,副主任张素杰等一行受邀参加南开大学智能无人系统技术研讨会。中国新一代人工智能发展研究院,天津工业大学电气工程与自动化学院、中德应用技术大学航空航天学院、天津现代职业技...
版权所有©beat·365(英国VIP认证)官方网站-OfficialWebsite京ICP备:13030111